 |
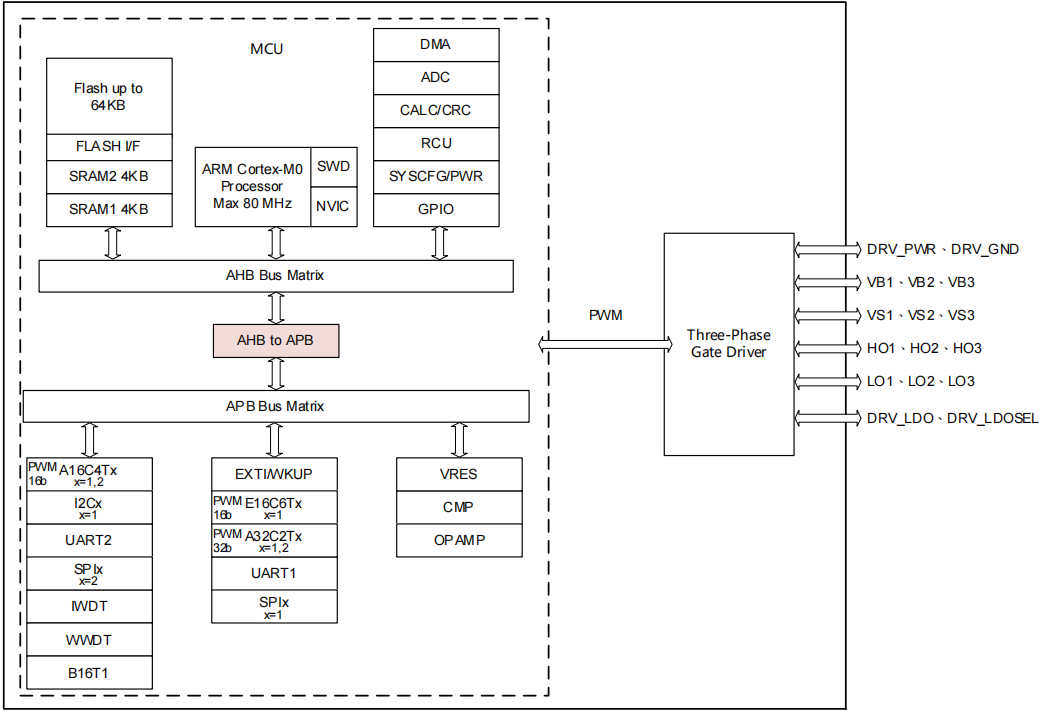
| PT2E01Z1 is an MCU for motor applications, integrating a high-performance 32-bit ARM Cortex-M0 core and a 100V-voltage-tolerant three-phase gate driver. The chip operates at a maximum frequency of 80MHz, with up to 64KBytes of Flash and 8KBytes of SRAM. It offers a rich set of practical functional modules and standard-compliant communication interfaces, including 1 I2C, 2 SPIs, and 2 UARTs. A variety of timer resources are supported, consisting of 1 16-bit enhanced timer (E16C6T), 2 32-bit advanced timers (A32C2T), 2 16-bit advanced timers (A16C4T), and 1 16-bit basic timer (B16T). PT2E01Z1 is equipped with universal analog resources, including a 12-bit high-speed ADC, an analog comparator (CMP), a VRES (32-step resistor divider), and an operational amplifier (OPAMP). The OPAMP supports configurable differential/single-ended PGA with gain ranges from x1 to x32. Additionally, it features an arithmetic acceleration unit (CALC) for division/square root operations and a CRC module that supports configurable generator polynomials. The operating voltage of PT2E01Z1 is divided into 1.8 ~ 5.5V for the microcontroller (VDDH and VDDA) and 10 ~ 20V for the three-phase gate power supply (VDRV_PWR). It operates within a temperature range of -40 ~ 105°C and supports multiple low-power modes. PT2E01Z1 is a versatile motor application controller specifically designed for various vehicle control applications and power tools. Its use cases cover functions such as sequential turn signals, in-vehicle ambient lighting, air conditioning airflow adjustment, power seat control, and power tool operation. |
PT2E01Z1Structure Diagram: 
|
|
Dough mixers (dough kneading machines) Power tools: Motor drive control for handheld electric devices such as electric drills, electric saws, grinders, etc. Electric vehicles: Three-phase motor drive for low-speed electric vehicles such as electric bicycles (E-BIKE). General motor control: Covers drive and speed regulation of various motors including single-phase, three-phase, stepper, and brushed motors, such as fans, pumps, and small transmission mechanisms.
|