![]() |
芯片说明: PY25Q80HB是一款串行接口闪存器件,专为需要将程序代码从闪存镜像至嵌入式或外部RAM执行的大批量消费类应用而设计。该器件采用灵活的擦除架构,具有扇区级擦除粒度,同样非常适合数据存储场景,可省去额外数据存储设备的需求。其擦除块大小经过优化设计,完美契合当代代码与数据存储应用需求——通过优化擦除块尺寸,能显著提升存储空间利用率。由于某些代码模块和数据存储段必须独占独立擦除区域,该设计可大幅减少传统大扇区/大区块闪存器件常见的存储空间浪费现象。这种提升的存储效率使得在保持相同总存储密度的同时,还能增加额外代码例程和数据存储段。 该器件还包含3个额外的512字节安全寄存器(具有OTP一次性可编程锁定功能),可用于设备唯一序列号、系统级电子序列号(ESN)存储、加密密钥存储等用途。其工作电压范围宽达2.3V至3.6V,支持读取、编程和擦除操作,无需为编程和擦除提供额外电压,特别适合多种不同系统应用场景。 应用: 三相电表 单相电表 通讯模块 水表 仪器仪表 |
引脚配置:
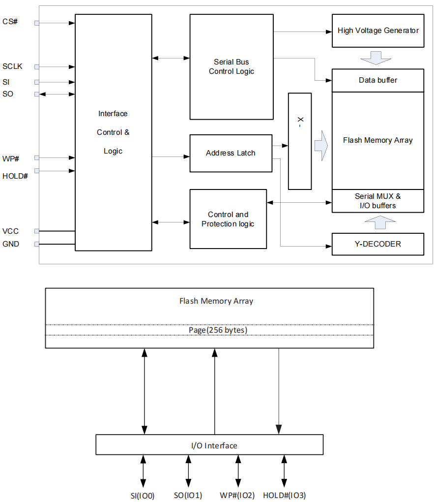
| 框图:
|
• 单电源2.3至3.6V供电
• 工业级温度范围-40°C至85°C
• 兼容串行外设接口(SPI):模式0和模式3
• 支持单线/双线/四线SPI及QPI模式
- 标准SPI:SCLK、CS#、SI、SO、WP#、HOLD#
- 双线SPI:SCLK、CS#、IO0、IO1、WP#、HOLD#
- 四线SPI:SCLK、CS#、IO0、IO1、IO2、IO3
- QPI模式:SCLK、CS#、IO0、IO1、IO2、IO3
• 灵活的代码与数据存储架构
- 统一256字节页编程
- 统一4K字节扇区擦除
- 统一32K/64K字节块擦除
- 全芯片擦除功能
• 通过WP#引脚硬件锁定保护扇区
• 一次性可编程(OTP)安全寄存器
- 3组512字节OTP锁定安全寄存器
• 每颗器件具有128位唯一ID
• 典型快速编程与擦除速度
- 30微秒单字节编程时间
- 0.5毫秒页编程时间
- 50毫秒4K字节扇区擦除时间
- 0.16秒32K字节块擦除时间
- 0.3秒64K字节块擦除时间
• JEDEC标准制造商与器件ID读取方案
• 典型超低功耗特性
- 1微安深度掉电电流
- 15微安待机电流
- 85MHz下7.5毫安读取工作电流
- 6毫安编程/擦除工作电流
• 高可靠性
- 100,000次编程/擦除周期
- 20年数据保存期限
• 工业标准环保封装选项
- 8引脚SOP封装(150mil/208mil)
- 8焊盘USON封装(3x2x0.55mm,1.5x1.5x0.55mm)
- 8引脚TSSOP封装
- KGD用于SiP
